Recomendado para industrias, tiendas, almacenes, garajes, centros comerciales y cualquier aplicación donde se instale una puerta enrollable de acero con un peso de hasta 170 kg y 6 metros de altura, y que requiera un movimiento seguro y silencioso. Dispone de dispositivo de seguridad anticaída en puerta y fines de curso con regulación de autoaprendizaje.
Para su instalación no es necesario retirar puerta ni eje, garantizando rapidez y seguridad durante el proceso.
Descubre las principales características del producto.
| CARACTERÍSTICAS | RL 200 |
| Peso máx. de la puerta (Kg) | 170 |
| Dimensión máx. de la puerta (alt x ancho, m) | 6 x 4,5 |
| Frecuencia de utilización (ciclos/hora) | 25 |
| Velocidad del bobinado (a 60Hz, rot/min) | 12 |
| Alimentación (Vca ± 6%-50/60Hz) | 220 |
| Potencia absorbida (W) | 630 |
| Rotación tuerca máx (Nm) | 180 |
| Temperatura de trabajo (°C) | -20÷ +55 |
| Peso del automatizador (Kg) | 8 |
Aqui você encontra as principais informações do produto
Descarga ahora nuestro catálogo de productos y conoce en detalle nuestros productos y sus características.
Catalogo General Rossi 2025
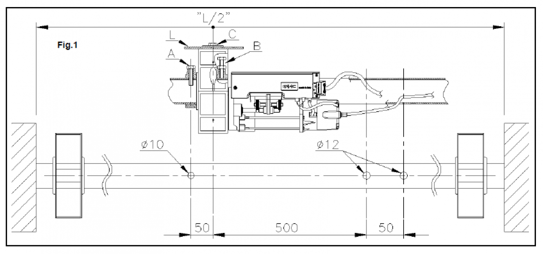
Conozca las dimensiones exactas de nuestros productos
Descubre los accesorios ideales para tus necesidades.