Indicada para indústrias, lojas, galpões, garagens, shoppings e toda aplicação onde tenha instalada uma porta de aço de enrolar com até 170Kg e 6 metros de altura, e que necessite movimento seguro e silencioso. Possui dispositivo segurança anti-queda da porta e finais de curso com ajuste de auto-aprendizagem.
Para a sua instalação não se faz necessário a remoção da porta ou do eixo, trazendo rapidez e segurança durante o processo.
Conheça as principais características do produto.
| CARACTERÍSTICAS | RL 200 |
| Peso máx. da porta (Kg) | 170 |
| Dimensão máx. da porta (alt x larg, m) | 6 x 4,5 |
| Frequência de utilização (ciclos/hora) | 25 |
| Velocidade do enrolamento (a 60Hz, rot/min) | 12 |
| Alimentação (Vca ± 6%-50/60Hz) | 220 |
| Potência absorvida (W) | 630 |
| Torque máx (Nm) | 180 |
| Temperatura de trabalho (°C) | -20÷ +55 |
| Peso do automatizador (Kg) | 8 |
Aqui você encontra as principais informações do produto
Baixe agora mesmo nosso catálogo de produtos e veja em detalhes nossos produtos e suas características.
Catálogo Geral Rossi 2025
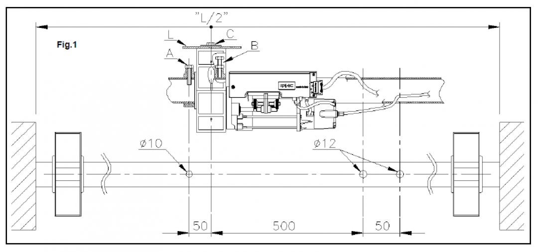
Conheça as dimensões exatas do nosso produto
Conheça os acessórios ideais para as suas necessidades.
Clique e descubra o local mais próximo para adquirir este produto.